Wandanschlüsse, Wandversätze und Wandabsätze
Anschlussmöglichkeiten an bestehende Wände
Queranschluss
mit Alu-Framax Xlife-Uni-Element
|
A Alu-Framax Xlife-Uni-Element |
|
B Doka-Ankersystem 15,0 |
|
C Abstützung (bauseits) |
mit Alu-Framax Xlife-Element und Druckplatte 6/15
|
A Alu-Framax Xlife-Element |
|
B Druckplatte 6/15 |
|
C Sechskantmutter 15,0 |
|
D Ankerstab 15,0mm |
|
E Abstützung (bauseits) |
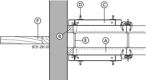
mit Alu-Framax Xlife-Element und Kantholz
|
A Alu-Framax Xlife-Element |
|
B Kantholz (min. 3,5 cm bis max. 20 cm) |
|
C Framax-Klemmschiene |
|
D Framax-Spannklemme |
|
E Doka-Ankersystem 15,0 |
|
F Abstützung (bauseits) |
.
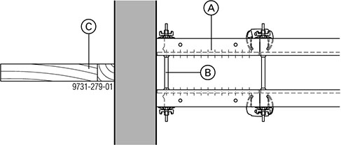
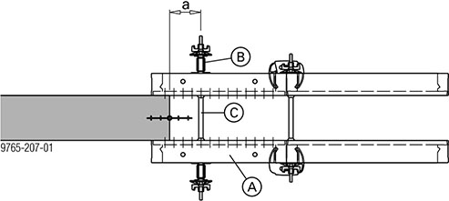
Längsanschluss
mit Alu-Framax Xlife-Uni-Element
a ... max. 20,0 cm
|
A Alu-Framax Xlife-Uni-Element |
|
B Framax-Klemmschiene 1,50m |
|
C Doka-Ankersystem 15,0 |
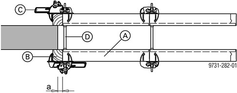
mit Alu-Framax Xlife-Element und Kantholz
a ... max. 5 cm
|
A Alu-Framax Xlife-Element |
|
B Kantholz |
|
C Framax-Uni-Spanner |
|
D Doka-Ankersystem 15,0 |
.
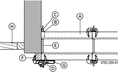
Eckanschluss
ohne Ausgleich
|
A Alu-Framax Xlife-Element |
|
B Framax-Druckplatte 6/15 |
|
C Sechskantmutter 15,0 |
|
D Superplatte 15,0 |
|
E Ankerstab 15,0mm |
|
F Kantholz |
|
G Framax-Uni-Spanner |
|
H Abstützung (bauseits) |
mit Ausgleich
|
A Alu-Framax Xlife-Element |
|
B Kantholz (min. 3,5 cm bis max. 20 cm) |
|
C Alu-Framax Xlife-Element 0,30m |
|
D Framax-Klemmschiene |
|
E Framax-Spannklemme |
|
F Doka-Ankersystem 15,0 |
|
G Abstützung (bauseits) |
.