Die schnelle, händische Gesimsschalung
Einfache und schnelle Justierung durch
Optimierter Einsatz bei
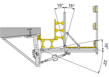
Große horizontale und vertikale Flexibilität zeichnet die einfach zu handhabende Gesimsschalung T aus.
Sie haben Fragen zum System? Wir informieren Sie gerne.
Nehmen Sie Kontakt mit uns auf!
